Speaker Mounts
AG-HT-X-X
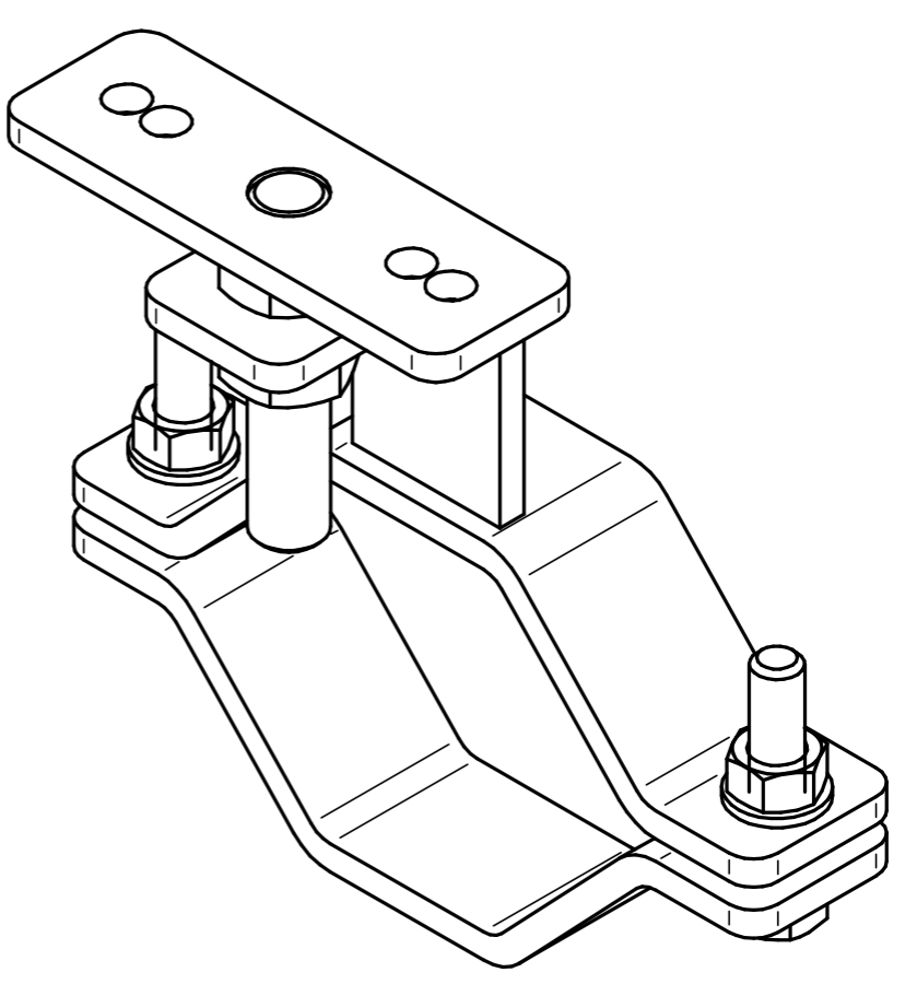
Our speaker mounting solutions are designed for secure installation of pressure chamber speakers in railway environments. They accommodate various pole configurations and provide stable, durable support for reliable audio performance.
Speaker mount for double 6-meter poles – AG-HT-6-D:
Mounting structure for mounting pressure chamber speakers installed in railway environments.
Speaker bracket for single 6-meter pole – AG-HT-6-S:
A support structure for mounting pressure chamber speakers installed in a railway environment.
Speaker bracket for double 4-meter pole – AG-HT-4-D:
Mounting structure for mounting pressure chamber speakers installed in a railway environment.
Speaker mount for single 4-meter pole – AG-HT-4-S:
Mounting structure for mounting pressure chamber speakers installed in a railway environment.
24-pole Column-mounted Junction Box
AG-KHW-20
The AG-KHW-20 is a 24-pole junction box that can be integrated into space lighting columns (candlesticks) and fits perfectly into 4- and 6-meter candlesticks. The design allows for secure and tidy connection of speaker and telecommunication cables, and is suitable for professional connection and termination of cables for TBK-30 type train dispatchers.
MAIN FEATURES:
– Compact design optimized for in-column installation
– 24-pole connection option
– Suitable for speaker and telecommunications cables
– Designed to accommodate TBK-30 train dispatcher cable outlets
– Compatible with 4 m and 6 m high candlestick poles
– Organized, maintainable internal cable routing
AREAS OF APPLICATION:
– Railway and public space lighting
– Passenger information and public address systems
– Telecommunications and control infrastructures
– Railway train dispatch systems
Speaker Junction Box
AG-HKD-KVC
The AG-HKD-KVC speaker junction box is specifically designed for the safe and reliable connection of pressure chamber speakers used in railway and public transport environments. The robust, weatherproof design ensures long-term stable operation on outdoor and covered platforms, in underpasses and station concourses.
MAIN FEATURES:
– IP55 protection against dust and water
– 3-pole electrical connection option
– 3 cable entry holes
– Robust, weather- and UV-resistant design
– Optimized for compression chamber speakers
– Ideal for rail, metro, tram, and other public transport applications
The AG-HKD speaker junction box provides a reliable solution in environments where safety, durability, and reliability are essential requirements.



